|
|
| Hydraulic Aluminum Pulling
Jacks |
HOME > Cylinders/Tools >
Hydraulic Aluminum Pulling
Jacks |
| |
|
 |
| |
The aluminum pulling rack weighs a half of the pulling jack.
It is suitable for shipyards, heavy industries and plants. |
- Aluminium Pulling Jack is light by steel Pulling jack's half weight.
- Shipbuilding yard, Heavy industry, Use is suitable to plant etc.
- How to understand Model No. |
| |

 |
| |
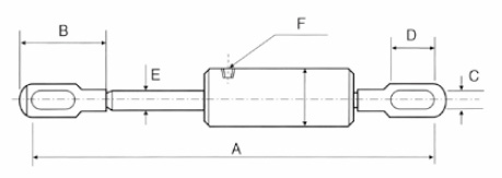
| * Specification |
|
|
| MODEL |
Cylinder
Capacity(tons) |
Stroke
(mm) |
Dimension |
| A |
B |
C |
D |
E |
F |
| JSCH-20150 |
20 |
150 |
183 |
208 |
35 |
108 |
50 |
|
| JSCH-30150 |
30 |
150 |
910 |
255 |
39 |
140 |
60 |
PT3/8" |
| JSCH-50150 |
50 |
150 |
884 |
237 |
55 |
115 |
75 |
|
|
|
| |
|